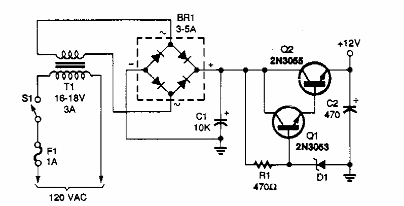
This simple 12 V power supply with current up to 2 A was found in a Popular Electronics from the 90s. The zener diode is 14 V and transistor Q2 can be a TIP42.
This battery monitor circuit with the TLV379 low voltage operational amplifier was obtained in the...
We got this circuit from Radio Electronics from July 1990. The circuit mimics the sound of the red...
This configuration often addressed on this site is from a 2000 documentation. The circuit can be...