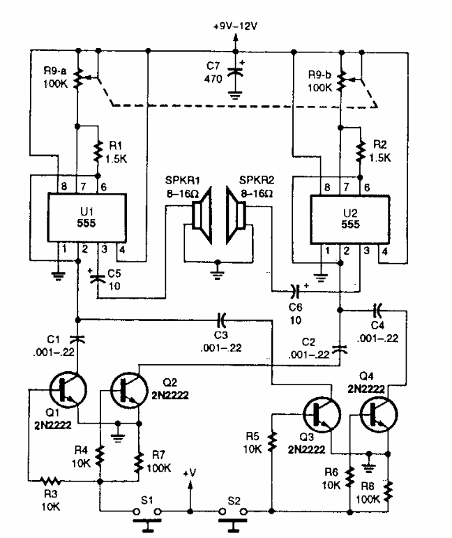
Found in Popular Electronics from the 90's, this circuit uses 555 integrated and common transistors to generate two tones determined by push buttons S1 and S2.
This battery monitor circuit with the TLV379 low voltage operational amplifier was obtained in the...
We got this circuit from Radio Electronics from July 1990. The circuit mimics the sound of the red...
This configuration often addressed on this site is from a 2000 documentation. The circuit can be...