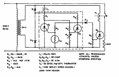
Found in a 1967 GE SCR manual, this circuit is intended to control resistive loads, such as heating elements, up to 5 kW.
This battery monitor circuit with the TLV379 low voltage operational amplifier was obtained in the...
We got this circuit from Radio Electronics from July 1990. The circuit mimics the sound of the red...
This configuration often addressed on this site is from a 2000 documentation. The circuit can be...