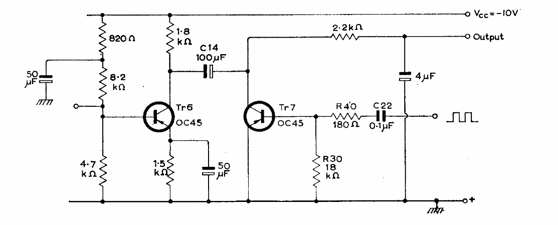
This circuit was found in Mullard's 1960s transistor manual. The circuit employs contemporary germanium transistors and operates at 1.65 kHz.
This source of constant current was obtained in an American documentation of 1973. The transistors can be...
Unlike white noise, pink noise has a spectrum whose amplitude decreases with frequency. This...
This circuit was found in a 1985 English magazine, but it can still be easily assembled, as the...