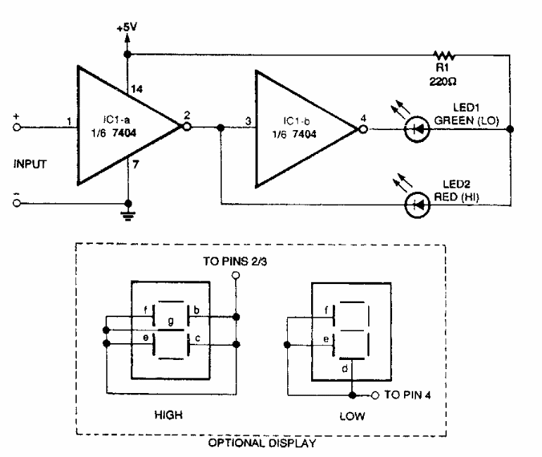
We find this circuit in an Electronics Now. The indication of the logic level is done on a 7-segment display according to the connections given in the diagram.
This battery monitor circuit with the TLV379 low voltage operational amplifier was obtained in the...
We got this circuit from Radio Electronics from July 1990. The circuit mimics the sound of the red...
This configuration often addressed on this site is from a 2000 documentation. The circuit can be...