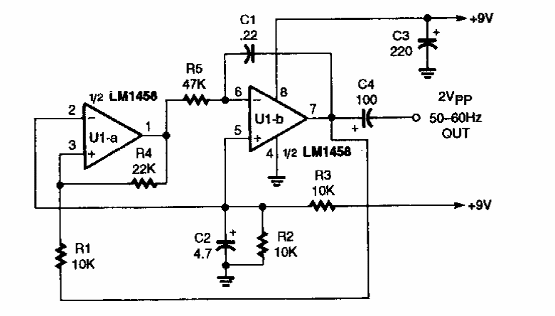
This circuit was found in an old Popular Electronics. The integrated circuit is equivalent to a double 741. The source does not have to be symmetrical.
This battery monitor circuit with the TLV379 low voltage operational amplifier was obtained in the...
We got this circuit from Radio Electronics from July 1990. The circuit mimics the sound of the red...
This configuration often addressed on this site is from a 2000 documentation. The circuit can be...