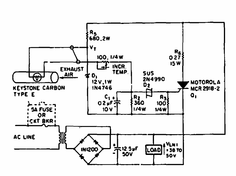
This circuit uses a heated filament as a sensor. With the air current it changes resistance, and the circuit detects it. The circuit is from a 1969 EEE.
We found this active crossover in a Radio Electronics magazine from June 1961. Note the different...
Found in Popular Electronics from the 90s, this circuit serves to indicate the output level of a...
If you are on an old PC that you use for experiments, control or other applications, this circuit is...