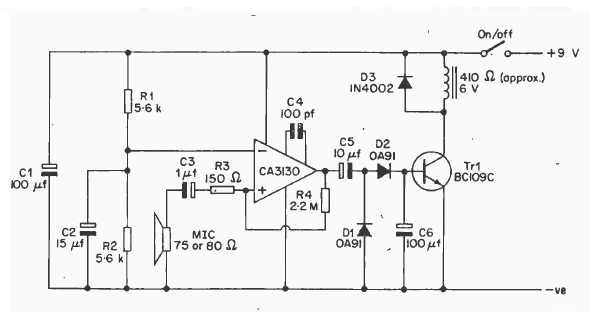
Using a CA3130, operational amplifier with FET, we found this circuit in a 1977 publication. The microphone is a high impedance speaker. The power supply is according to the relay voltage.

Using a CA3130, operational amplifier with FET, we found this circuit in a 1977 publication. The microphone is a high impedance speaker. The power supply is according to the relay voltage.
