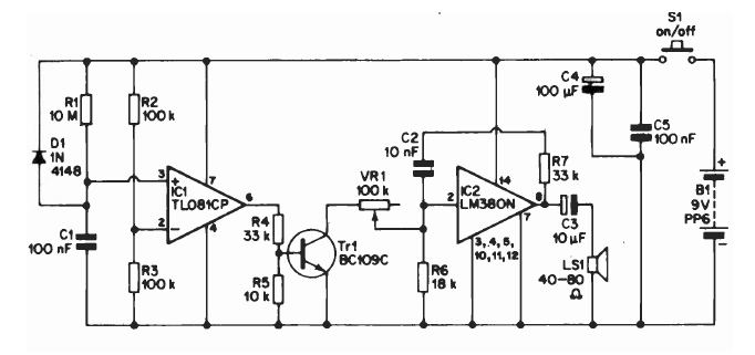
This LM380-based circuit was found in documentation from the 1980s. The components are current, and the transistor may be a general-purpose equivalent. Note the use of a medium impedance speaker.
The original document is from Philips, but now available from NXP (www.nxp.com) which is the...
In the figure we show how to implement a voltage-controlled oscillator. The circuit is from Texas...
Three LM158, LM258, LM358, or LM2904 operational amplifiers are used in this instrumentation amplifier....