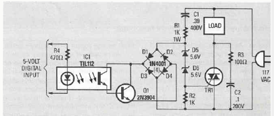
This shield with full-wave triggering was found in the Radio Electronics Experimenter magazine of 1989. The Triac must be according to the load that must be controlled.
The circuit shown is from National Semiconductor's Linear Applications Handbook. The LM3900 is a...
This circuit was found in a William Sheets. It has 75 ohms of output impedance and can operate up to 20...
The Texas Instruments TPS797xx family of integrated circuits is designed to supply very...