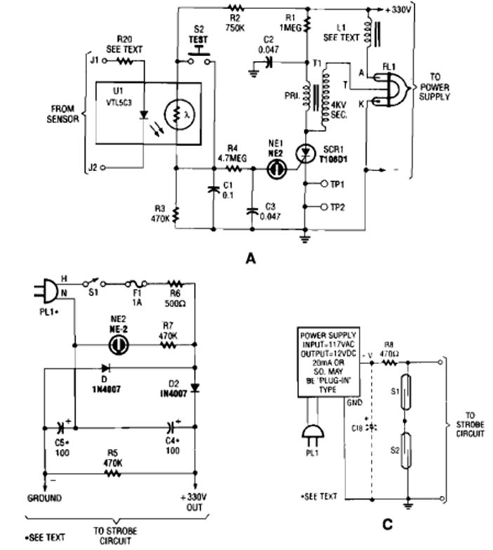
We found this circuit in volume 5 of the 1995 Encyclopedia of Electronic Circuits. It fires a high-power pulsating xenon light.
This simple circuit produces pulses delayed in times set by the resistor in series with C on the...
This circuit was published in the Ideas section of Radio Electronics magazine in August 1983. The...
In the figure we have the receiver of a sequential remote control operating at a frequency in the range of...