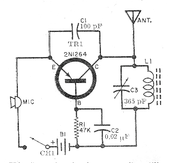
The microphone of this short-range MW transmitter should be low impedance magnetic (a small speaker) or charcoal. L1 is formed of 80 loops of yarn 28 on a ferrite rod and CV is a former AM radio variable. The transistor may be the BC558 and the 40 cm to 1.5 m long telescopic antenna. The frequency range is between 500 and 1600 kHz.




