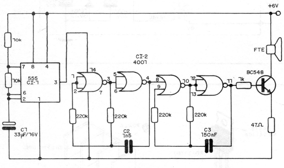
This is one of the many versions of cricket that the reader can find on this site. This circuit is not light triggered, like many of the ones we have described, but simply produces the sound of cricket. Components can be changed for greater realism.
This is one of the many versions of cricket that the reader can find on this site. This circuit is not light triggered, like many of the ones we have described, but simply produces the sound of cricket. Components can be changed for greater realism.