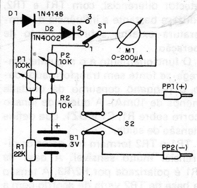
This ultra-simple tester and component gauge lets you perform continuity testing and even evaluate component strength. The indication is made by the brightness of the LEDs and the instrument which is a low cost microammeter. The circuit is powered by two small batteries.




