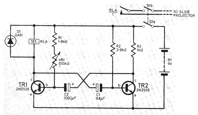
This circuit found in a 1974 English magazine was originally designed to automatically trigger a slide projector of the time. Today it could be used as an intermittent automatism for many other applications. Mounting is feasible by simply replacing the original transistors with the BC548. The supply voltage can be 6 or 12 V depending on the relay used. Relays of 50 to 100 mA are recommended.




