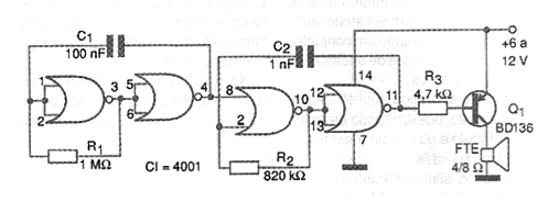
A modulated (flashing) siren using the four gates of the 4001 integrated is shown in the figure. The power stage can use a single transistor or a higher power circuit. Modulation and tone frequencies can be changed by modifying both resistors and corresponding capacitors. The BD136 must be heat sink mounted.




