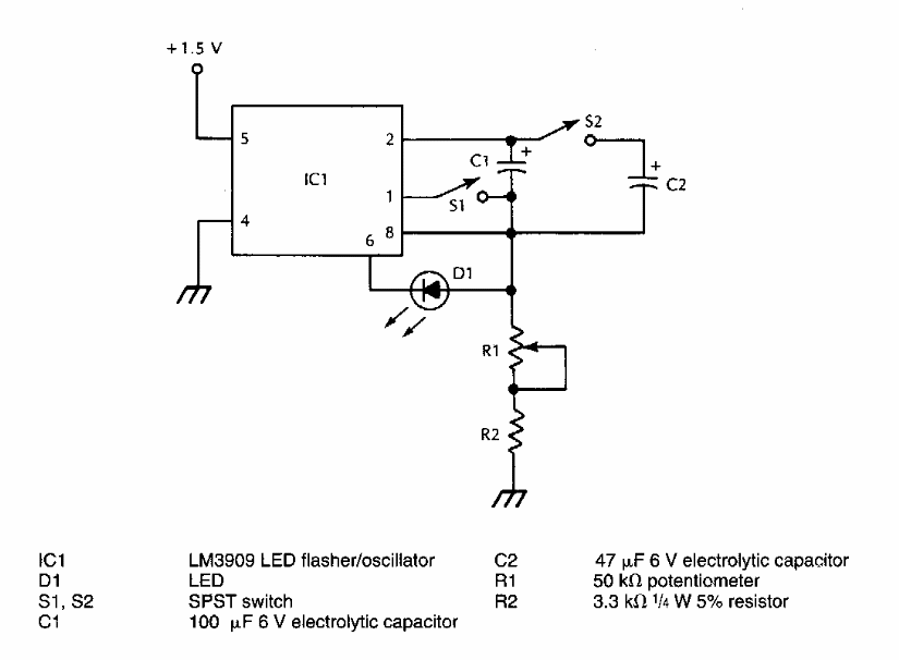
Based on the well-known LM3909, this LED pulser circuit was found in American documentation from the 90's. The power supply is only 1.5 V.
This well-known siren configuration using complementary transistors is from a 1980s documentation. The...
This circuit was found in an old American magazine and could make use of more modern components...
This circuit is from the Philips integrated circuits manual of 1990. It is intended for magnetic...